全國服務熱線:
400-027-0207
服務熱線:400 027 0207 銷售熱線:027-87387127
技術熱線:15827027987
商務熱線:15907150602
傳真:027-87387127
QQ:2609016073 微信:tailulai
郵箱:2609016073@qq.com; tailulai@163.com;
地址:武漢市江岸區工農兵路87號
一、產品簡介
NCS-WS風速傳感器采用傳統三風杯風速傳感器結構,風杯選用ABS材料,強度高,啟動風速小;杯體內置信號處理單元能根據用戶需求輸出相應風速信號。可以輸出485/232信號、脈沖或電壓、電流信號,可廣泛用于廣告道閘、氣象、海洋、環境、機場、港口、實驗室、工農業及交通等領域。
二、產品特性
★自有專利研發,每只傳感器都經過風洞校準。
★采用高質量軸承,啟動風速小,數據穩定。
★眾安裝方便,可兼容底部或者側面出線安裝。
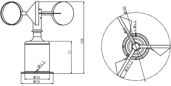
三、安裝尺寸圖(尺寸單位:mm)

四、技術參數

五、應用場景
