全國服務熱線:
400-027-0207
服務熱線:400 027 0207 銷售熱線:027-87387127
技術熱線:15827027987
商務熱線:15907150602
傳真:027-87387127
QQ:2609016073 微信:tailulai
郵箱:2609016073@qq.com; tailulai@163.com;
地址:武漢市江岸區工農兵路87號

產品描述與應用 Products description and application |
NCS-UEMS是一款免維護的超聲波環境監測傳感器。與傳統機械式風速儀相比,無轉動部件慣性影響,能夠快速準確測量10多種環境氣象要素;北方嚴寒地區用戶可選用內部自帶高效加熱裝置,可以保證在嚴寒環境下可靠工作。適用于農業,氣象、林業、電力,環保、港口、鐵路公路等領域的風速監測及風資源評估。 |
功能特性 Features |
o 采用時差法測量原理,抗環境干擾能力強。 o 采用高效濾波算法,針對雨、霧天氣特殊補償技術。 o 選用更為昂貴和精準的200Khz的超聲波探頭,確保風速風向數值測量更精準,更穩定。 o 選用耐鹽霧腐蝕探頭,全密封結構,經過國家鹽霧實驗,效果良好,適用于沿海,港口等環境。 o 多種信號輸出方式可選。 o 模塊化設計,一體化集成度高,可以根據需要任意選配環境監測要素,最多可集成10余種要素。 o 環境適應性廣,產品研發經過嚴格的高低溫、防水、防鹽霧、沙塵等環境試驗。 o 低功耗設計。 o 可選配加熱功能、GPS/北斗定位功能。 |
產品圖片 Product picture

主要技術參數 General Specifications | |||
電氣參數 | 機械結構參數 | ||
工作電壓 | DC9V-30V或者5V | 材質 | ABS工程塑料 |
加熱功率 | 10W | 工作環境濕度 | 0~100%RH |
信號輸出方式 | 4~20mA/ 0-5V | 工作環境溫度 | -40℃~+75℃ |
RS485或定制信號輸出 | 防護等級 | IP65 | |
出線方式 | 航空插座 | ||
外觀顏色 | 乳白色 | ||
參考重量 | 1KG(2參數);2KG(5參數或多參數) | ||
傳感器技術指標 General Specifications
選配環境要素 | 量程 | 準確度 | 分辨率 | 功耗 |
風速 | 0-30m/s 0-40m/s | 啟動風速≤0.8m/s,±(0.5+0.02V)m/s; | 0.01m/s; | 0.1W |
風向 | 0~360 | ±3° | 1° | |
光照度 | □ 0-200000Lux(室外) | ±4% | 1 Lux | 0.1mW
|
CO2 | 0~5000ppm | ±(50ppm+5%) | 1ppm | 100mW |
PM2.5/10 | 0-500μg/m3 | ±30μg/m3±20% | 1μg/m3 | 0.5W |
PM100 | 0-20000μg/m3 | ±30μg/m3±20% | 1μg/m3 | 0.4W |
輻射 | 0-1500 W/m2 | ±3% | 1W/m2 | 400mW |
雨量累計 (光學雨量) | 測量范圍:0--4mm/min | ±10%(室內靜態測試,雨強為2mm/min) | 0.2mm | 240mW |
大氣溫度 | -40~100℃ | ±0.3℃ | 0.1℃ | 1mW |
大氣濕度 | 0~100%RH | ±5%RH
| 0.1%RH | |
大氣壓力 | 300~1100hPa | ±1 hPa(25℃) | 0.1 hPa | 0.1mW |
電子羅盤 | 0~360 | ±4° | 1° | 100mW |
GPS | 經度 (-180~180°) 緯度 (-90~90°) 海拔(-3276.7~3276.7m) | ≤10米 ≤10米 ≤3米 | 0.1秒 0.1秒 0.1米 | |
總功耗 = 選配傳感器功耗 + 主板基礎功耗 | 主板基礎功耗 | 200mW | ||
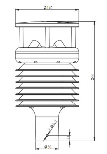
安裝尺寸圖 Mounting dimensions
![]() | ![]() | ![]() |
| (2參數) | (5參數) | (多參數) |
注意事項:
指北針指示的磁北極和地理北極并不完全一致,因此,在校正傳感器時必須考慮所在位置的偏差(誤差)。
誤差與所在位置有關,最大誤差可能超過 15°(例如東北)。在華東區域,誤差可忽略(<3°)。有關這部分的其它更詳細信息可在因特網上找到。 超聲波風傳感器屬于精密儀器,輕拿輕放,請勿磕碰。
接線示意圖 Wiring diagram
傳感器底部有一個4芯航空插頭,其針腳對應的管腳定義如下:
1——電源正VCC(紅)
2——電源負GND(綠)
3——485A+ (黑)
4——485B- (黃)
注意事項:
1.確定接線正確后再送電。
2.線纜屏蔽層和外殼必須可靠接地。
注意事項
1.請檢查包裝是否完好,并核對產品型號是否與選型一致;
2.切勿帶電接線,接線完畢檢查無誤后方可通電;
3.傳感器屬于精密器件,用戶在使用時請不要自行拆卸、用尖銳物品或腐蝕性液體接觸傳感器表面,以免損壞產品;
4.安裝環境確保傳感器不被其他正在運行的設備干擾,這些設備可能不完全遵循通用標準,例如無線電/雷達發送裝置,輪船引擎,發動機等;
1.不要與任何雷達掃描裝置在同一個平面安裝,至少應該保持2米以上距離;
2.避免周圍建筑物,例如樹,電線桿,高樓等所產生的絮流,這些會對產品精度產生影響;
3.請保存好檢定證書和合格證,維修時隨同產品一同返回。
世界氣象組織給出以下建議:
1.氣象儀安裝標準:在開闊地區超過地面10米以上;
2.如果安裝在建筑物上,理論上氣象儀安裝高度應該是建筑物高度的1.5倍;
3.如果安裝在桅桿的吊桿上,塔或者桅桿的分支上,吊桿或者分支的長度必須是塔的最小直徑或者對角線的2倍。吊桿需要安裝在盛行風的一側;
故障排除
1.RS485輸出時儀表顯示值不正確。可能因接線問題或者通訊串口故障導致表無法正確獲取數據。請檢查接線是否正確、牢固,串口是否被占用,串口設置是否正確;
2.若不是上述原因,請與廠家聯系。